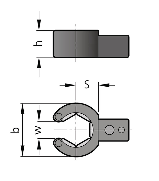
Open-ended ring ratchet spanner head
Open-ended ring ratchet spanner head made of engineering steel for using
the torque wrench in combination with the socket insert bits (A/F14–30)
70200 | TT13500
- RRKo20
Open-ended ring ratchet spanner head made of engineering steel for using
the torque wrench in combination with the socket insert bits (A/F14–30)